Case Studies

Explore how we've helped organizations worldwide transform their products and services with AI.

Navigating Ambiguity to Launch an Enterprise AI Copilot
AI Strategy & Implementation

Navigating Ambiguity to Launch an Enterprise AI Copilot

How we guided an Enterprise B2B SaaS company through the challenges of developing and launching an AI Copilot, addressing architectural weaknesses, organizational misalignments, and unclear product direction to establish a foundation for future AI-driven innovation.

AI Copilot
Product Strategy
Technical Architecture
Process Optimization
Team Alignment
Transforming Infrastructure and Performance for a Growing Marketplace
Technical Architecture & Performance

Transforming Infrastructure and Performance for a Growing Marketplace

How we modernized a professional consultation marketplace's technical infrastructure, implemented advanced search capabilities, and optimized performance while the platform continued serving active users and handling real-time video calls.

Infrastructure Migration
Performance Optimization
Search Architecture
Technical Leadership
Designing and Launching an AI-Powered Marketing Assistant in 90 Days
AI Product Development

Designing and Launching an AI-Powered Marketing Assistant in 90 Days

How we designed and delivered a live demonstration of an AI-powered marketing assistant, showcasing AI capabilities to enhance marketing strategies through audience segmentation, campaign planning, and predictive analytics.

AI Assistant
Marketing Technology
Rapid Prototyping
Product Launch
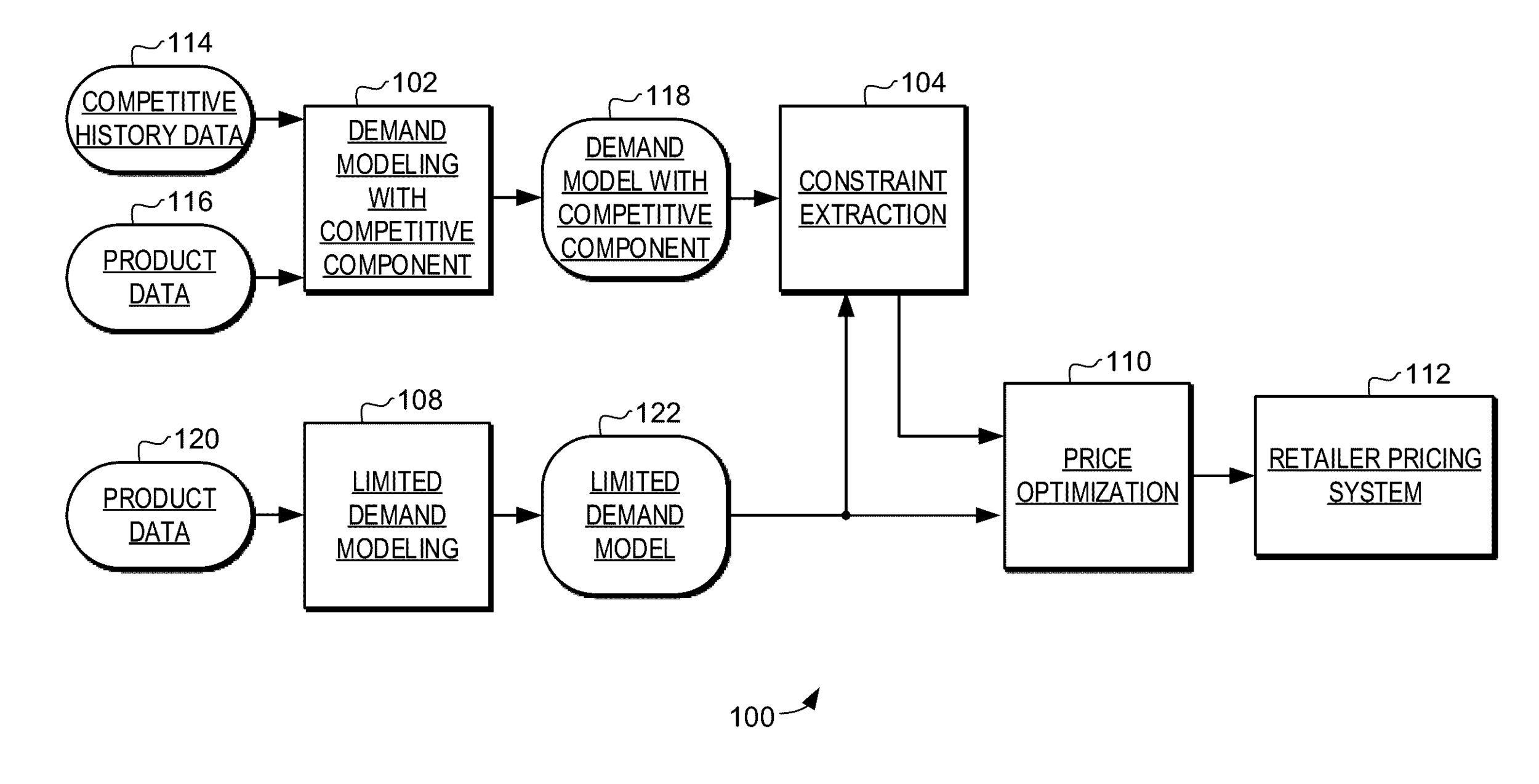
Revolutionizing Pricing Science to Save Client Retention
AI Strategy & Implementation

Revolutionizing Pricing Science to Save Client Retention

How we developed an innovative pricing science feature that restored client confidence, ensured contract renewal, and introduced a patentable product differentiator.

AI Pricing
Data Science
Client Retention
Patent
Creating an Immersive AI Marketing Experience
Immersive Technology

Creating an Immersive AI Marketing Experience

How we designed and delivered a fully immersive, interactive AI demonstration that highlights marketing technology capabilities in Customer Experience Centers, setting a vision for future product innovation.

Immersive Experience
Gesture UI
AI Demonstration
Customer Experience
Scaling Teams Through Data-Driven Decisions
UX Research & Analytics

Scaling Teams Through Data-Driven Decisions

How we equipped research teams with robust data instrumentation and actionable insights, bridging qualitative research with behavioral data to optimize user experiences across cloud platforms.

UX Research
Data Analytics
Team Collaboration
User Personas
Turning Research into Strategy—Using Jobs-to-Be-Done
UX Research & Strategy

Turning Research into Strategy—Using Jobs-to-Be-Done

How we implemented Jobs-to-be-Done methodology to uncover user needs and transform roadmap investments, resulting in significant improvements in user experience and task completion.

Jobs-to-be-Done
UX Research
Data Science
User Personas